Iklan 300x250

43 briggs and stratton recoil starter assembly diagram

Briggs and Stratton Starter Parts - Jacks Small Engines Briggs and Stratton Starter Parts. Replacement Briggs and Stratton starter parts are here. Briggs and Stratton is one of the most trusted names in small engines. Since 1997, Jack's has been one of the most trusted names in online small engine part sales. Let us provide you with the parts you need to get your engine running again. How to Repair a Small Engine Recoil Starter ... Luckily, when this happens, you can fix your recoil starter in about 20 minutes. Your recoil starter may also fail because the pulley or recoil housing has worn and the spring no longer sits in the housing correctly. We used a Briggs and Stratton starter for this repair, but most starters will require the same steps.

› bsgovernorsBriggs and Stratton Governor Linkage Diagrams - Small Engines Nov 11, 2015 · Briggs and Stratton Governor Linkage Diagrams Here are the diagrams for the more popular L-head engines. I will post the others as soon as I get them scanned. These images belong to the Briggs and Stratton Corporation. They came from the shop manual, P/N 270962, 1995 Revision.

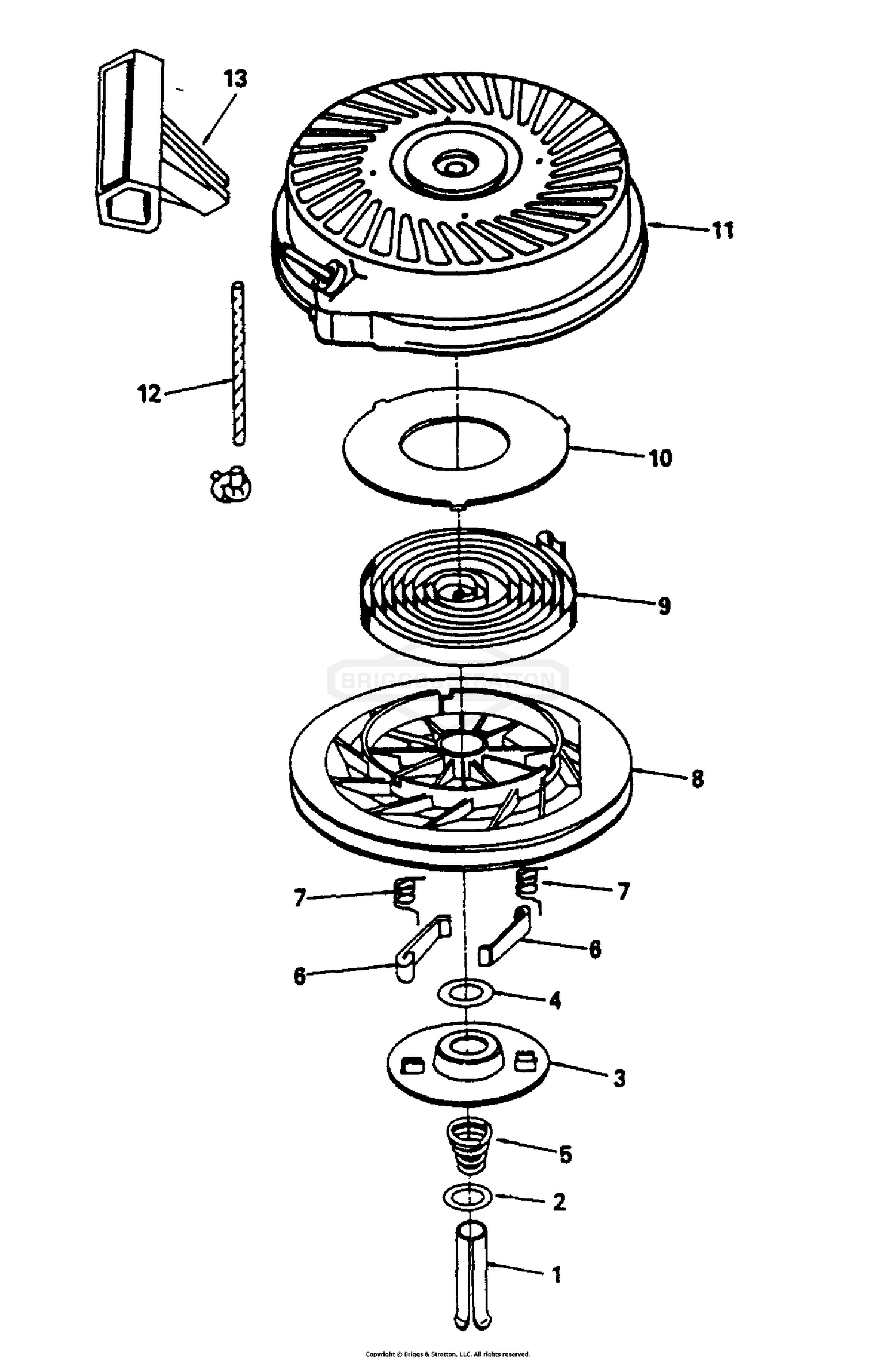
Briggs and stratton recoil starter assembly diagram

Briggs and stratton recoil starter assembly diagram

› jacks-parts-lookupBriggs and Stratton 204412-0147-E1 Parts Diagrams Briggs and Stratton 204412-0147-E1 Exploded View parts lookup by model. Complete exploded views of all the major manufacturers. ... Recoil Starter Assembly. Options ... Amazon.com: briggs and stratton pull start assembly Gekufa 692102 Compatible with Briggs and Stratton Recoil Starter Assembly, Pull Start Assembly Rewind Starter Replacement for 692102, 492194, 808087. 5.0 out of 5 stars. 2. $23.99. $23. . 99. Get it as soon as Mon, Feb 28. FREE Shipping on orders over $25 shipped by Amazon. Briggs & Stratton Repair Part 497680 - Rewind Starter ... Briggs & Stratton 497680. Description... Hide. The purpose of the Recoil Starter or Rewind Starter is to enable the operator to manually pull a cord held under tension by a spring which engages the clutch, turns the crankshaft, and then starts or "cranks" the engine. Over time, the rope, grip, reel or spring that make up the Recoil Starter are ...

Briggs and stratton recoil starter assembly diagram. phillipolivergordziel.de › briggs-and-stratton-verticalBriggs And Stratton Vertical Shaft Engine Finding a new or pre-owned Briggs Stratton engine for your lawn mower, snow blower, commercial equipment, or generator is easy using the eBay. shaft can be used for tillers, compressors, log splitters, edgers and more. Briggs & Stratton is one of the world's largest manufacturers of air-cooled gasoline engines for primarily outdoor power equipment. Briggs and Stratton Recoil Diagram - Bing - Shopping One-Pieces, Overalls & Jum… Uniforms. Clothing Sets Parts Lookup - Briggs & Stratton Online Store Parts Lookup Tool. This interactive page will allow you to find the exact replacement part you need, using official parts diagrams from the manufacturer. Even better, once you find your part, you can easily add it to your cart and check out - getting you up and running even faster. To begin, please click the brand of your engine or equipment. Briggs and Stratton Recoil Starters - MTD Parts Recoil Starter Assembly. Briggs and Stratton Part Number 499706. Recoil Starter Assembly. Briggs and Stratton Part Number 497830. Recoil Starter Assembly. Briggs and Stratton Part Number 693900. Recoil Starter Assembly. Briggs and Stratton Part Number 591301. Recoil Starter Assembly.

Briggs and Stratton 31R976-0016-G1 Parts Diagrams Briggs and Stratton 31R976-0016-G1 Exploded View parts lookup by model. Complete exploded views of all the major manufacturers. ... See: Briggs & Stratton exploded parts diagrams. ... Recoil Starter Assembly. $76.45 Options Add to Cart. 691416 . Screw (Muffler) $8.85 Options Add to Cart. 691678 ... Briggs and Stratton 196432-1035-E1 Parts Diagrams Briggs and Stratton 196432-1035-E1 Parts Diagrams. Parts Lookup - Enter a part number or partial description to search for parts within this model. There are (408) parts used by this model. Briggs & Stratton Recoil Starter Service - YouTube This video will demonstrate the proper procedure for repairing Briggs & Stratton recoil starters for models 90000, 10A900, 10C900, 120000 with plastic pawls.... Briggs and Stratton Generator Recoil Starter Assembly ... 6 Products Found. GENERAC 095268ASRV RECOIL STARTER ASSEMBLY. THIS PART REPLACES: GENERAC 0A2799. and others. Price: $53.99. GENERAC 0E94830SRV RECOIL KIT 360/320. Price: $49.99. Genuine OEM BRIGGS AND STRATTON 393576 REWIND STARTER HOUSING.

› briggs-and-stratton-pull-cordBriggs And Stratton Pull Cord Stuck - assignmentstarter.de This is an unquestionably easy means to specifically acquire lead by on-line. This part also replaces. Anyway, this is my code. Briggs & Stratton Grip Recoil Pull Start Handle 281434S w #5 31-150 Rope Cord 6 New. to Repair a Small Engine Recoil Starter. Briggs and Stratton 020000 to 05G900 Series Engines. › Briggs-Stratton-21R807-0072-G1Amazon.com: Briggs & Stratton 21R807-0072-G1 Simpson 11.5 HP ... BRIGGS & STRATTON needs to add a wiring diagram to their manual. RED wire goes to battery + for charging. Black wire on connector goes to the coil for spark plug. Gray wire goes to carburetor solenoid for anti-backfire, it must be connected to battery while running only otherwise motor won't run, (no battery power will shuts off fuel flow). Briggs and Stratton 550E Pull Starter Assembly 593959 OEM The 593959 Pull Starter fits only in specific products using a Briggs and Stratton 550E Engine, like the Murray MXU16550E. To verify if this replacement is the one your gardening machine needs, check the complete Briggs and Stratton 593959 Starter Where Used list. Check our Contact Section if you have inquiries about this product. Starters and Starter Parts- Briggs & Stratton Online Store The Official Online Store for Briggs & Stratton® Engines and Parts

PushMowerRepair.com - Briggs 3.5HP Recoiling a Starter Spring

PushMowerRepair.com - Briggs 3.5HP Recoiling a Starter Spring

Briggs And Stratton Part Number - DIY Engine Parts Genuine Briggs and Stratton recoil starter assembly. This is a complete recoil starter including pulley, recoil spring, pawls and rope. Included are screws and fitting instructions for replacing the old recoil starter which may be riveted to the blower housing. screws and instructions for replacing riveted unit

Briggs & Stratton Power Products_DEL_26072017021729 9618 ...

Briggs & Stratton Power Products_DEL_26072017021729 9618 ...

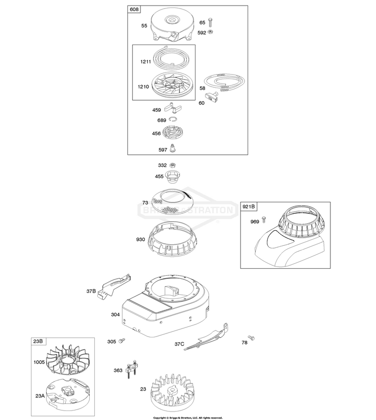
Briggs and Stratton 28B702-1134-E1 Parts Diagram for ... Briggs and Stratton 28B702-1134-E1 Rewind Starter, Flywheel Exploded View parts lookup by model. Complete exploded views of all the major manufacturers. It is EASY and FREE

Briggs and Stratton Part Number 497680. Recoil Starter Assembly

Briggs and Stratton Part Number 497680. Recoil Starter Assembly

Recoil Starter Assembly [497680] for Lawn Equipments ... 2. Removed the metal engine fairing with the old recoil starter attached. 3. Removed the old recoil starter. 4. Installed the new recoil starter. 5. Reinstalled the metal engine fairing with the new recoil starter. 6. Pulled the new starter rope all the way out and secured it from rewinding by wrapping the rope around a screwdriver. 7.

Briggs & Stratton 421417-0132-XX - Briggs & Stratton ...

Briggs & Stratton 421417-0132-XX - Briggs & Stratton ...

Find Manual & Parts List | Briggs & Stratton Find Your Manual or Parts List. Find the operator's manual or illustrated parts list for your Briggs & Stratton engine or product by following the instructions below. Looking for a part number? Use the Parts Lookup tool to find your part number, availability & pricing, and order online. 1. Locate your model number.

STARTER RECOIL REWIND PULL START ASSEMBLY For BRIGGS ...

STARTER RECOIL REWIND PULL START ASSEMBLY For BRIGGS ...

Briggs and Stratton Starter Parts - Starter Recoil Assemblies Briggs and Stratton Starter Recoil Assemblies. When you need to find a starter recoil assembly, Jacks is the place! Make your choice by matching the original Briggs and Stratton part or model number below to be sure that you're getting the correct replacement part!

Briggs & Stratton 326431-0346-99 Rewind Starter, Rope ...

Briggs & Stratton 326431-0346-99 Rewind Starter, Rope ...

Aftermarket Briggs & Stratton Recoil Starters & Parts Recoil Starter fits New Style Engines Only. BRIGGS & STRATTON 192402, 192412, 192417, 192432, 196402, 196432, 196436, 196437, 196452, 197402, 197412 and 19E412. This Item Is On Sale! Order now and save $9.39 off the regular price. This is a limited time offer and we reserve the right to limit quantities.

New Recoil Rewind Pull Starter For Briggs & Stratton 135252 135292 135297  135702 | eBay

New Recoil Rewind Pull Starter For Briggs & Stratton 135252 135292 135297 135702 | eBay

› manual › 836123BRIGGS & STRATTON STORM RESPONDER 5500 OPERATOR'S MANUAL Pdf ... Page 2 Thank you for purchasing this quality-built Briggs & Stratton® generator. We are pleased that you’ve placed your confidence in the Briggs & Stratton brand. When operated and maintained according to the instructions in this manual, your Briggs & Stratton generator will provide many years of dependable service.

New 150-012 Recoil Starter Assembly for Briggs & Stratton 08P502, 093J02,  09P602 and 09P702 engines 595355

New 150-012 Recoil Starter Assembly for Briggs & Stratton 08P502, 093J02, 09P602 and 09P702 engines 595355

Briggs and Stratton Recoil Assembly - psep.biz BRIGGS ORIGINAL EQUIPMENT. $53.01. & $9.95 FLAT RATE SHIPPING PER WHOLE ORDER. Quantity: Add To Cart. FOR BRIGGS & STRATTON ORIGINAL EQUIPMENT PARTS WITH PARTS LOOKUP DIAGRAMS, PLEASE READ BELOW BEFORE CLICKING ON THE DIAGRAM. T he parts lookup website is original equipment parts only. This website has aftermarket and OEM mix on the most common ...

RECOIL PULL STARTER ASSEMBLY FOR BRIGGS & STRATTON 497830 ...

RECOIL PULL STARTER ASSEMBLY FOR BRIGGS & STRATTON 497830 ...

Briggs & Stratton Small Engine Starter Replacement Parts ... Briggs & Stratton Small Engine Rewind Pulley and SpringGenuine OEM Part # 498144 | RC Item # 1567907. Watch Video. $19.55. ADD TO CART. Small engine recoil starter assembly. This item includes the pulley and spring. The recoil starter engages the drive cup on the flywheel to start the engine when pulled.

Recoil Pull Starter Briggs & Stratton 593959 Starts Yard ...

Recoil Pull Starter Briggs & Stratton 593959 Starts Yard ...

casinospieleslots.de › briggs-and-stratton-carburetorAs of 2015, 85 percent of Briggs and Stratton engines were ... Mar 09, 2022 · There is a good chance that your lawnmower has a 5 HP Briggs & Stratton engine, because Locate the idle adjustment screw on the side of the carburetor . (Eastern time). m. carburetor servicing. Briggs & Stratton Corp. 3. Briggs And Stratton Recoil Diagram.

Rewind Starter Assembly

Rewind Starter Assembly

Briggs and Stratton Recoil Starters - Lawnmower Pros Briggs and Stratton Illustrated Parts Diagrams. 4 Products Found. Briggs And Stratton 497598 Recoil Starter Rewind Assembly Genuine OEM Briggs and Stratton Part Includes starter cup to use on engines with Susa starters, debris screen, mounting hardware. THIS PART REPLACES:

Handstarter BRIGGS & STRATTON 497830, 496650, 495766, 494846, 494782 - De  Onderdelenshop

Handstarter BRIGGS & STRATTON 497830, 496650, 495766, 494846, 494782 - De Onderdelenshop

Need replacement recoil starter parts? Order here Recoil Starter Parts Recoil starters are the catchall term for engines which are started by pulling on a rope attached to the crankshaft, which cranks the engine. Each crank creates an opportunity for the engine to fire up, and a spring-operated reel retracts the rope, either for storage once the engine has fired or to

Recoil Starter Assembly / Briggs & Stratton 695058 | 150-481 | BMI Karts  and Parts

Recoil Starter Assembly / Briggs & Stratton 695058 | 150-481 | BMI Karts and Parts

Briggs and Stratton 28B702-1154-E1 Parts Diagrams Briggs and Stratton 28B702-1154-E1 Exploded View parts lookup by model. Complete exploded views of all the major manufacturers. ... See: Briggs & Stratton exploded parts diagrams. ... Recoil Starter Assembly Used Before Code Date 99102500 Options Add to Cart. 691734 . Rewind Spring Anchor (No Longer Available ...

Briggs & Stratton Recoil Starter Pulleys – FG Adamson

Briggs & Stratton Recoil Starter Pulleys – FG Adamson

Briggs and Stratton 13R232-0001-F1 Parts Diagrams Briggs and Stratton 13R232-0001-F1 Exploded View parts lookup by model. Complete exploded views of all the major manufacturers. ... See: Briggs & Stratton exploded parts diagrams. ... Starter Rope (Cut To Required Length) $7.66 Options Add to Cart. 590607. Rewind Starter. $60.25 ...

09T602-0135-H1 Briggs and Stratton Engine | PartsWarehouse

09T602-0135-H1 Briggs and Stratton Engine | PartsWarehouse

Briggs & Stratton 123P02-0010-F1 lawn ... - Sears Parts Direct Briggs & Stratton 123P02-0010-F1 lawn & garden engine parts - manufacturer-approved parts for a proper fit every time! We also have installation guides, diagrams and manuals to help you along the way!

Briggs and Stratton 203400 Parts Diagrams | Lawnmower Pros

Briggs and Stratton 203400 Parts Diagrams | Lawnmower Pros

Briggs Recoil (pull) starter repair - Ask Me Help Desk Briggs Recoil (pull) starter repair My wood splitter has a Briggs gas engine, when I pull it and it starts I get a screech sound from the pull rope area. It did it a few different times after it started on other occasions. Today it screeched more often and I noticed the pull rope would come out about 6 - 12 inches and snap back onto the spool.

Briggs and Stratton 675 Series Repair Pull Cord Replacement ...

Briggs and Stratton 675 Series Repair Pull Cord Replacement ...

Briggs and Stratton Illustrated Parts Diagrams | Lawnmower ... Briggs and Stratton Illustrated Parts Diagrams available online from LawnMowerPros and ready to assist you in finding your repair parts. We are an Authorized Briggs and Stratton Small Engine Dealer carrying a large selection of Illustrated Parts Lists.

Briggs And Stratton Part Number - Starter-Rewind

Briggs And Stratton Part Number - Starter-Rewind

Briggs And Stratton Part Number - DIY Engine Parts Genuine Briggs and Stratton recoil starter assembly. This is a complete recoil starter including pulley, recoil spring, pawls and rope. Included are screws and fitting instructions for replacing the old recoil starter which may be riveted to the blower housing.Why use Only Original Briggs & Stratton Replacement Parts: Only Briggs & Stratton ...

China Customized EY20 Recoil Starter for ROBIN Manufacturers ...

China Customized EY20 Recoil Starter for ROBIN Manufacturers ...

Briggs & Stratton Repair Part 497680 - Rewind Starter ... Briggs & Stratton 497680. Description... Hide. The purpose of the Recoil Starter or Rewind Starter is to enable the operator to manually pull a cord held under tension by a spring which engages the clutch, turns the crankshaft, and then starts or "cranks" the engine. Over time, the rope, grip, reel or spring that make up the Recoil Starter are ...

Briggs & Stratton Lawn Mower Engine Ratchet Pawl #281505S

Briggs & Stratton Lawn Mower Engine Ratchet Pawl #281505S

Amazon.com: briggs and stratton pull start assembly Gekufa 692102 Compatible with Briggs and Stratton Recoil Starter Assembly, Pull Start Assembly Rewind Starter Replacement for 692102, 492194, 808087. 5.0 out of 5 stars. 2. $23.99. $23. . 99. Get it as soon as Mon, Feb 28. FREE Shipping on orders over $25 shipped by Amazon.

Briggs and Stratton Power Products 9797-0 - 5,500 EXL (Rev 2 ...

Briggs and Stratton Power Products 9797-0 - 5,500 EXL (Rev 2 ...

› jacks-parts-lookupBriggs and Stratton 204412-0147-E1 Parts Diagrams Briggs and Stratton 204412-0147-E1 Exploded View parts lookup by model. Complete exploded views of all the major manufacturers. ... Recoil Starter Assembly. Options ...

Briggs & Stratton Recoil Starter Service

Briggs & Stratton Recoil Starter Service

OEM parts Suzuki [outboard-4-stroke] Outboard DF 2.5 / 2013 ...

OEM parts Suzuki [outboard-4-stroke] Outboard DF 2.5 / 2013 ...

Honda HRD535 MEM (HRD535Q-MEM-ZBM) Parts Diagram, RECOIL STARTER

Honda HRD535 MEM (HRD535Q-MEM-ZBM) Parts Diagram, RECOIL STARTER

Briggs and Stratton 28M707-0026-01 Parts Diagram for Flywheel ...

Briggs and Stratton 28M707-0026-01 Parts Diagram for Flywheel ...

Stens 150-012 Recoil Starter Assembly, Briggs and Stratton 591139

Stens 150-012 Recoil Starter Assembly, Briggs and Stratton 591139

Toro 20654 - Toro 50cm Recycler Walk-Behind Mower (SN ...

Toro 20654 - Toro 50cm Recycler Walk-Behind Mower (SN ...

Honda Engines Engine GX OEM Parts Diagram for RECOIL STARTER ...

Honda Engines Engine GX OEM Parts Diagram for RECOIL STARTER ...

Recoil Starter for TG7000 Portable Generator (D68.2000.071.D7.00)

Recoil Starter for TG7000 Portable Generator (D68.2000.071.D7.00)

12J707-1753-E1 Briggs and Stratton Engine | PartsWarehouse

12J707-1753-E1 Briggs and Stratton Engine | PartsWarehouse

Briggs and Stratton Engine Parts - ProPartsDirect

Briggs and Stratton Engine Parts - ProPartsDirect

Briggs and Stratton 203400 Parts Diagrams | Lawnmower Pros

Briggs and Stratton 203400 Parts Diagrams | Lawnmower Pros

Terugloopstarter onderdelen voor Suzuki LT Z 50 Quadsport uit ...

Terugloopstarter onderdelen voor Suzuki LT Z 50 Quadsport uit ...

1PZ Pull Starter Start Recoil for Champion Power Equipment 3000 3500 4000  Watts 196cc 6.5hp Gasoline Generator XH0-236

1PZ Pull Starter Start Recoil for Champion Power Equipment 3000 3500 4000 Watts 196cc 6.5hp Gasoline Generator XH0-236

Briggs & Stratton 150-012 Recoil Starter Assembly for sale ...

Briggs & Stratton 150-012 Recoil Starter Assembly for sale ...

HQparts Pull Recoil Starter & Cup Assembly for 593959 450E 500E 550E 575E  Lawnmower Engines

HQparts Pull Recoil Starter & Cup Assembly for 593959 450E 500E 550E 575E Lawnmower Engines

How to Repair a Small Engine Recoil Starter ...

How to Repair a Small Engine Recoil Starter ...

Starter voor Briggs and Stratton motoren hand gestart met Quantum Motor op  Grasmaaier - Loopmaaier - Duwmaaier - Grasmachine

Starter voor Briggs and Stratton motoren hand gestart met Quantum Motor op Grasmaaier - Loopmaaier - Duwmaaier - Grasmachine

Briggs and Stratton 190412-6111-01 Parts Diagram for Rewind Assy

Briggs and Stratton 190412-6111-01 Parts Diagram for Rewind Assy

Recoil Starter Assembly - Briggs & Stratton 693900

Recoil Starter Assembly - Briggs & Stratton 693900

SOLVED: Predator auger #60622, I need a recoil starter #75 ...

SOLVED: Predator auger #60622, I need a recoil starter #75 ...

Recoil Starter Start up Launch Pull Start Assembly for Briggs ...

Recoil Starter Start up Launch Pull Start Assembly for Briggs ...

Briggs and Stratton Part Number 591606. Recoil Starter Assembly

Briggs and Stratton Part Number 591606. Recoil Starter Assembly

0 Response to "43 briggs and stratton recoil starter assembly diagram"

Post a Comment

Iklan Atas Artikel

Iklan Tengah Artikel 1

Iklan Tengah Artikel 2

Iklan Bawah Artikel